咨詢熱線
021-56037469
021-56381771
021-56318899
021-56325777參數范圍 |
流量:0.8~39(m3/h) |
吸程:5~7(m) |
溫度:-20℃~150℃ |
口徑Φ:10~100(mm) |
泵殼:鑄鐵,鋁合金,不銹鋼,工程塑料,襯膠,襯氟 |
隔膜:丁氰橡膠,氯丁橡膠,四氟,氟橡膠 |
產品概述:
泵體材料 | 代號 | 隔膜材料 | 代號 |
鋁合金 | L | 丁氟橡膠· | NBR |
鑄鐵 | Z | 氟橡膠 | F |
工程塑料 | S | 乙丙橡膠 | EPDM |
不銹鋼 | B | 氯丁橡膠 | CR |
襯膠 | ZCJ | 四氟橡膠 | F46 |
QBY2型氣動隔膜泵既能抽送流動的液體,又能輸送一些不易流動的介質,具有自吸泵、潛水泵、屏蔽泵、泥漿泵和雜質泵等輸送機械的許多優點。QBY2型氣動隔膜泵是一種新型輸送機械,采用壓縮空氣為動力源。對于各種腐蝕性液體,帶顆粒的液體,高粘度、易燃、劇毒的液體,均能予以抽光吸盡。
型號意義:
例:QBY 2 - 10
10-進出口直徑10(mm)
2-二代
QBY-氣動隔膜泵
產品特點:
1、不需灌引水.吸程高達5(m).揚程達70(m).出口壓力≥6(bar)。
2、流動寬敞,通過性能好.允許通過顆粒直徑達10(mm)。抽送泥漿、雜質時,對泵磨損甚微;
3、揚程、流量可通過氣閥開度實現無級調節(氣壓調節在1—7(bar)之間):
4、該泵無旋轉部件,沒有軸封,隔膜泵|等抽送的介質與泵的運動部件、工件介質完全隔開,所輸送的介質不會向外泄漏。所以抽送有毒、易發揮或腐蝕性介質時,不會造成環境污染和危害人身安全;
5、不必用電.在易燃、易爆場所使用安全可靠;
6、可以浸沒在介質中工作:
7、使用方便、工作可靠、開停只需簡單地打開和關閉氣體閥門.即使由于意外情況而長時間無介質運行或突然停機泵也不會因此而損壞.一旦超負荷,泵會自地動停機,具有自我保護性能,當負荷恢復正常后,又能自動啟動運行;
8、結構簡單、易損件少,該泵結構簡單,安裝、維修方便,泵輸送的介質不會接觸到配氣閥,聯桿等運動部件,不象其他類型的泵因轉子、活塞、齒輪、葉片等部件的磨損而使性能逐步下降:
9、可輸送較粘的液體(粘度在1萬厘泊以下):
10、本泵無須用油潤滑,即使空轉.對泵也無任何影響,這是該泵的特點。
性能參數表:
泵型號 | 進出口徑(mm) | 流量(m3/h) | 揚程(m) | 吸程(m) | 功率(kw) | 轉速(r/min) |
DBY2-10 | 10 | 0.5 | 30 | 1.5 | 0.37 | 1450 |
DBY2-15 | 15 | 0.75 | 30 | 1.5 | 0.37 | 1450 |
DBY2-25 | 25 | 3.5 | 30 | 4 | 1.5 | 1450 |
DBY2-40 | 40 | 4.5 | 30 | 4 | 2.2 | 1450 |
DBY2-50 | 50 | 6.5 | 30 | 4 | 4 | 1450 |
DBY2-65 | 65 | 8 | 30 | 4 | 4 | 1450 |
DBY2-80 | 80 | 16 | 30 | 4 | 5.5 | 1450 |
DBY2-100 | 100 | 20 | 30 | 4 | 5.5 | 1450 |
備注:性能參數表均只做參考,如需產品相關安裝圖等詳細參數說明書請致電:021-56386999。
工作原理:

一,連接壓縮空氣后,氣閥控制壓縮空氣推動膜片向友移動,同時膜片會擠壓右膜腔室中的介質從而將介質排除泵腔。膜片不僅起輸送介質的作用,同時在泵腔中起隔離壓縮空氣和介質。當一個膜片被壓縮空氣推向遠離中間體時,與此同時通過連桿鏈接的另外一個膜片移向中間體時,與此同時通過連桿鏈接的另外一個膜片移向中間體,其中處于高壓的連桿其作用是連接位于兩個膜腔室中的膜片。當膜片2移向中間體時,膜片后面的高壓空氣通過閥門的換向通過消音器被迫排放到外界。當膜片2移向中間氣閥時,泵入口產生真空并通過大氣壓力將介質壓入泵的進口中。此時蹦的進口閥球會被抬高而離開閥座,保證介質很輕松的通過進口管路而充入泵腔中。
二,當膜片1位于高壓空氣下時,膜片1隨著沖程慢慢的移動到最大位置。同時,通過氣閥控制壓縮空氣慢慢充入膜片2后面的空間。此壓縮空氣勢必將推動膜片2慢慢遠離中間體,通過連桿的連接,膜片1 開始移向中間體。膜片2將擠壓膜腔室中介質并通過水利作用再進口處的閥球上,使得閥球和閥座的接觸后而封閉進口管路。同時,同樣的水利作用在出口處球閥上并提升球閥,打開出口管路,另一側的出口處球閥因壓力的作用而關閉,進口處的球閥同樣因壓力的作用而打開,液體也就被吸入泵腔室內。
三,當一個充成完成后,通過氣閥的換向使得膜片1后面再次被充入壓縮氣體,同時膜片2開始移向中間體,膜片2后面的氣體也開始通過氣閥及消音器排向外界。
故障排除:

故障問題 | 解決方法 |
系統中吸入高度過大 | 若吸入高度超過4米,大多數情況下用液體充滿泵室即可啟動泵 |
系統中正吸入高度過大 | 當液體正吸入高度超過3米時應安裝一個背壓裝置。 |
系統壓差超過供氣壓力 | 增加泵的進氣壓力,大部分隔膜泵都按照零流量情況下1:1的壓力比進行設計。 |
供氣壓力或流量超過系統壓差 | 根據所公布的《性能曲線》進行計算,減少泵的進氣口壓力和流量,泵會通過快速循環使流體發生空化。 |
吸入管道尺寸過小 | 按照尺寸圖紙的推薦值進行連接 |
空氣管道受限或者尺寸過小 | 采用更大的氣管進行連接 |
死機不工作 | 檢查氣閥里面塑料配件是否有破損情況,閥塊是否磨蝕。 |
死機不工作 | 檢查氣閥里面密封件是否磨蝕壞掉,是否分流閥和導向閥的氣流換向器磨蝕或卡主,不能自由移動或連接部位斷裂的情況。 |
死機不工作 | 拆卸并檢查配氣閥組件和引導換向閥頂針,更換所有斷裂或失靈磨蝕的零部件。確保閥塊和引導換向閥可平穩自如移動,重新安裝前檢查閥口是否堵住。 |
泵用剛性管道連接 | 安裝柔性連接器和阻尼器 |
排氣消聲器堵塞 | 取下消聲器,拆開消聲器清洗或除冰,然后重新安裝 |
在排氣消聲器中泵入了液體 | 拆除泵室檢查隔膜的裂縫或松動的隔膜板部件。 |
吸入端漏氣或產品中進入空氣 | 目視檢查所有吸入端的墊片和管道連接部分 |
止回閥堵塞 | 把泵上的過水進出口部件拆下來,然后人工清除止回閥凹出的堵塞物。 |
止回閥或其閥座磨損或未對齊 | 檢查止回閥及閥座的磨損情況及支撐情況。如有必要可進行更換。 |
吸入管堵塞 | 清除或用水沖掉堵塞物,檢查并清理所有吸入口濾網。 |
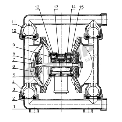
結構圖:

| 序號 | 材料 | 序號 | 材料 |
| 1 | 下蓋 | 9 | 中間體墊 |
| 2 | 球座 | 10 | 隔膜排 |
| 3 | 球芯 | 11 | 上蓋 |
| 4 | 立柱 | 12 | 中間體組件 |
| 5 | 隔膜 | 13 | 消聲器 |
| 6 | 隔膜外壓板 | 14 | U型密封圈 |
| 7 | 中間軸 | 15 | 中間軸導向管 |
| 8 | 隔膜內壓板 | 16 |
安裝示意圖:

非過水部材質:
| 非過水部材質 | 聚丙烯 | 鋁合金 |
| 代號 | PP | AL |
過水部材質:
| 過水部材質 | 聚丙烯 | 聚甲醛 | PVDF | 鋁合金 |
| 代號 | PP | PM | KV | AL |
| 過水部材質 | 304不銹鋼 | 316不銹鋼 | 球墨鑄鐵 | 聚四氟乙烯 |
| 代號 | SS | LL | AC | TF |
隔膜材質:
| 過水部材質 | 聚四氟乙烯 | 山道橡膠 | 聚醚橡膠 | 丁晴橡膠 |
| 代號 | TF | ST | HY | BN |
| 過水部材質 | 三元乙丙橡膠 | TPV耐磨橡膠 | 氟橡膠 | 聚氨酯 |
| 代號 | EP | GE | VT | PU |
止回閥材質:
| 過水部材質 | 聚四氟乙烯 | 山道橡膠 | 聚醚橡膠 | 丁晴橡膠 | 三元乙丙橡膠 | TPV耐磨橡膠 |
| 代號 | TF | ST | HY | BN | EP | GE |
| 過水部材質 | 氟橡膠 | 聚氯乙烯 | 304不銹鋼 | 316不銹鋼 | 陶瓷 | |
| 代號 | VT | PC | SS | LL | CM |






